

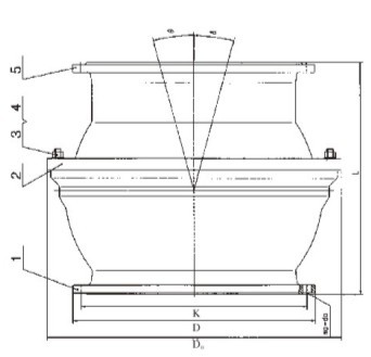
E型球形補償接頭零部件材質
| 序號 | 名稱 | 數量 | 材料 |
| 1 | 球殼 | 1 | QT400-15 |
| 2 | 壓蓋 | 1 | QT400-15 |
| 3 | 螺栓 | – | 不銹鋼 |
| 4 | 螺母 | – | |
| 5 | 球體 | 1 | QT400-15 |
| 6 | 密封圈 | 1 |
| 公稱尺寸 | DO | L | O | 法蘭連接尺寸 | |||||||||
| 0.6MPa | 1.0MPa | 1.6MPa | |||||||||||
| DN | D | K | n-do | D | K | n-do | D | K | n-do | ||||
| 100 | 282 | 290 | 15 | 210 | 170 | 4-¢19 | 220 | 180 | 8-¢19 | 220 | 180 | 8-¢19 | |
| 150 | 364 | 320 | 265 | 225 | 8-¢19 | 285 | 240 | 8-¢23 | 285 | 240 | 8-¢23 | ||
| 200 | 410 | 410 | 320 | 280 | 8-¢19 | 340 | 295 | 8-¢23 | 340 | 295 | 12-¢23 | ||
| 250 | 464 | 382 | 375 | 335 | 12-¢19 | 395 | 350 | 12-¢23 | 405 | 355 | 12-¢27 | ||
| 300 | 535 | 410 | 440 | 395 | 12-¢23 | 445 | 400 | 12-¢23 | 460 | 410 | 12-¢27 | ||
| 350 | 607 | 430 | 490 | 445 | 12-¢23 | 505 | 460 | 16-¢23 | 520 | 470 | 16-¢27 | ||
| 400 | 668 | 470 | 540 | 495 | 16-¢23 | 565 | 515 | 16-¢27 | 580 | 525 | 16-¢30 | ||
| 450 | 728 | 550 | 595 | 550 | 16-¢23 | 615 | 565 | 20-¢27 | 640 | 585 | 20-¢30 | ||
| 500 | 798 | 600 | 645 | 600 | 20-¢23 | 670 | 620 | 20-¢27 | 715 | 650 | 20-¢34 | ||
| 600 | 918 | 689 | 755 | 705 | 20-¢27 | 780 | 725 | 20-¢30 | 840 | 770 | 20-¢37 | ||
| 700 | 1056 | 800 | 860 | 810 | 24-¢27 | 895 | 840 | 24-¢30 | 910 | 840 | 24-¢37 | ||
| 800 | 1160 | 893 | 975 | 920 | 24-¢30 | 1050 | 950 | 24-¢34 | 1025 | 950 | 24-¢40 | ||
| 900 | 1310 | 920 | 1075 | 1020 | 24-¢30 | 1115 | 1050 | 28-¢34 | 1125 | 1050 | 28-¢40 | ||
| 1000 | 1443 | 975 | 1175 | 1120 | 20-¢30 | 1230 | 1160 | 28-¢37 | 1255 | 1170 | 28-¢43 | ||
| 1200 | 1693 | 1125 | 13 | 1405 | 1340 | 32-¢34 | 1455 | 1380 | 32-¢40 | 1485 | 1390 | 32-¢48 | |
| 1400 | 1942 | 1290 | 1630 | 1560 | 36-¢37 | 1675 | 1590 | 36-¢43 | - | - | - | ||
| 1600 | 2164 | 1385 | 1830 | 1760 | 40-¢37 | 1915 | 1820 | 40-¢48 | - | - | - | ||
| 1800 | 2400 | 1580 | 12 | 2045 | 1970 | 44-¢40 | 2115 | 2020 | 44-¢48 | - | - | - | |
| 2000 | 2730 | 1870 | 2265 | 2180 | 48-¢43 | 2325 | 2230 | 48-¢48 | - | - | - | ||
| 2200 | 2910 | 1950 | 2475 | 2390 | 52-¢43 | 2550 | 2440 | 52-¢56 | - | - | - | ||
| 2400 | 3135 | 2080 | 2685 | 2600 | 5-¢43 | 2760 | 2650 | 56-¢56 | - | - | |||
上一篇:【煙、風、煤管道波紋補償器(FGFB)】
下一篇:【不銹鋼金屬軟管】

豫公網安備 41910102000522號
地址:鞏義市永安路南段 0371-64393352 64580820 傳 真:0371-64031200 手 機:15903663076